The Tilting Disk Check Valve is an ideal choice for preventing fluid backflow in modern pipeline systems. This is due to its unique design. The core advantages of this valve include efficient sealing, quick closing, and effective suppression of impacts and water hammer. This article will explore the structural features, working principle, performance advantages, and applicable scenarios of the Tilting Disk Check Valve.
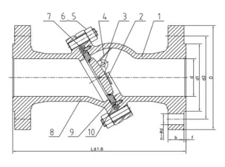
The Tilting Disk Check Valve mainly consists of the valve body, valve disk, valve seat, pivot, and related accessories. The valve disk is a butterfly-shaped tilting disk. It is mounted on the valve shaft. The valve disk has a unique shape and structure. This ensures efficient sealing and flexible closing.

The valve disk is made of a butterfly-shaped tilting disk. It is mounted on the valve shaft. The valve disk can swing in a pendulum-like motion. This is achieved through a pivot. The valve seat is a specially designed floating, elastic metal hard-seal valve seat. This design ensures that the valve seat automatically adjusts and aligns with the valve disk. It ensures tight contact between the sealing surfaces. This provides excellent sealing performance.
The sealing surface of the valve seat is part of an inclined conical body. The sealing line is approximately elliptical. The angle between the sealing surface and the valve flow passage centerline is 60°. The axis of the conical sealing surface has an eccentric angle of 15° to 20° relative to the centerline of the valve body flow passage. There is also an eccentricity between the rotational axis of the valve disk and the axis of the conical body. This allows the valve disk to swing in a pendulum-like motion. It effectively prevents friction or sliding contact that can occur in traditional check valves during closing.
During the engagement and separation of the valve disk and valve seat, there is no friction or sliding contact. This avoids wear or sealing failure of the valve disk. When the valve disk contacts the valve seat, the precise design allows for quick sealing. The sealing happens without impact or noise. This structure significantly extends the valve's service life. It also ensures stability and reliability during long-term operation.
The working principle of the Tilting Disk Check Valve is based on fluid flow rate and gravity. When fluid flows normally, the valve disk is pushed open by the fluid pressure. When the pressure of the medium reaches the valve's working pressure, the valve disk opens. This allows fluid to flow through the valve. When the fluid flow rate decreases or backflow occurs, the valve disk automatically closes under gravity. This prevents reverse fluid flow.
The valve disk's motion path is short. This allows it to close quickly. This feature greatly reduces the impact and water hammer caused by fluid backflow. Compared to traditional swing-type or lift-type check valves, the Tilting Disk Check Valve has faster and more effective closing. This minimizes damage to pipelines and the valve body caused by impacts.
The Tilting Disk Check Valve offers several advantages. These include:
The valve disk's center of gravity is optimized. This ensures the valve disk can quickly contact the valve seat under its own weight. It does not require external force. Since the valve disk's motion path is short, it quickly reaches the valve seat position. This avoids the impact and water hammer phenomena caused by delayed closing in traditional check valves. This feature is especially suitable for pipeline systems that require rapid closure to prevent fluid backflow.
The Tilting Disk Check Valve uses a spherical sealing design. This results in smooth, frictionless engagement between the valve disk and the valve seat. This design eliminates noise and wear caused by friction. The valve design allows quick and smooth sealing without impact. This reduces noise during operation.
The valve's fluid passage is streamlined. This reduces flow resistance and improves fluid flow efficiency. This not only reduces energy consumption but also improves the energy-saving performance of the pipeline system. The streamlined design ensures smooth fluid flow when the valve opens. This reduces the system's burden.
The valve disk and valve seat are designed to avoid friction or sliding contact. This significantly extends the service life of the Tilting Disk Check Valve. The precise structure and optimized valve disk motion path help minimize wear on valve components. This prolongs the equipment's service life.
The Tilting Disk Check Valve is particularly suitable for preventing fluid backflow in horizontal or vertical pipelines. It works effectively in vertical pipelines or any inclined pipelines between horizontal and vertical angles. This check valve prevents reverse flow of the medium. It ensures system safety and stability.
Tilting Disk Check Valves are widely used in:
Oil and gas transmission pipeline systems
Water treatment and water supply pipelines
Chemical, pharmaceutical, and other industrial pipeline systems
Water flow control in heating and air conditioning systems
The Tilting Disk Check Valve offers excellent performance and reliability due to its unique design. Its rapid closing, low flow resistance, impact-free operation, and low noise make it highly effective in preventing fluid backflow and protecting pipeline systems. The valve's structural optimization, sealing performance, energy-saving effect, and long service life make it widely used in various industries. It has become an indispensable component in modern pipeline systems.
Source: https://www.kosenvalve.com/media-hub/structure-and-performance-of-the-tilting-disk-check-valve.html