Product Name: ASTM A216 WCB Safety Valve
Type: Full Lift, Spring-loaded Safety Valve
Design Standard: API 526
Body Material: ASTM A216 WCB
Size: DN50, 2 Inch
Pressure: PN64, Class 400 LB
End Connection: Flanged
The Spring Full Lift Safety Valve is designed for systems with relatively simple discharge requirements. It can be used in systems where the discharge pressure is atmospheric, constant, or may increase up to a maximum of 10% above the set pressure. In cases with constant back pressure, the valve should be set to the differential pressure. The valve disc sealing surface is available in two types: flat and conical. The discharge area is calculated based on the cylindrical or conical surface formed between the valve disc and seat. This valve is ideal for applications with small discharge capacities, high back pressure, and stable system pressure.
Technical Specifications
» Normal Size Range: 1/2-16 Inch (DN15-DN400)
» Normal Pressure Rating: Class 150-600 LB (PN10-PN100)
» Materials: Carbon Steel, Stainless Steel, Alloy Steel, Duplex, or Other Specials
» Design and Manufacture: GB/T 12243-1989, API RP 520, 521, API 526, API 527
» Face to Face (End to End): GB/T 14087, JB/T 6441, JB/T 2203, JB/T 9624, JB/T 53170
» Flanged Connection: ASME B16.5, DIN 2543 to 2545, EN 12627
» Test and Inspection: API 598, DIN 3230, MSS SP-117
» End Connections: Flanged (FF, RF, RTJ) to international standards
» Working Medium: gas, liquid and steam
Product Features
» Lighter and More Compact Construction: Continuous design improvements have resulted in smaller and lighter valves, aligning with current industry trends focused on space and weight savings.
» Interchangeable Parts: The valves can be easily modified from one type to another (e.g., gas, liquid, conventional, and bellows) by changing only a few parts.
» Simplified Maintenance and Service: Re-engineered with fewer parts, the valves offer easier and more cost-effective maintenance.
» Material Selection: A wide range of materials are available, including non-ferrous options for low-temperature and oxygen service, as well as exotic alloys specifically tailored for the chemical and process industries.

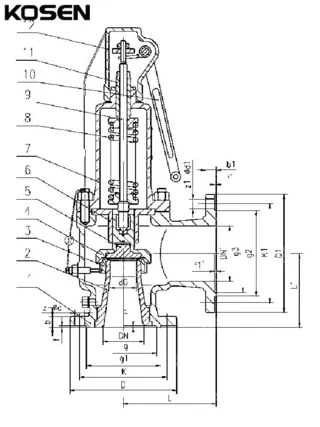
Main Parts and Materials
|
No |
Name of Parts |
Carbon steel |
Stainless steel |
Stainless steel |
|
1 |
Body |
A216 WCB |
A351 CF8 |
A351 CF8M |
|
2 |
Nozzle |
2Cr13 |
SS 304 |
SS 316 |
|
3 |
Adjusting Ring |
2Cr13 |
SS 304 |
SS 316 |
|
4 |
Disc holder |
2Cr13 |
SS 304 |
SS 316 |
|
5 |
Disc |
2Cr13 |
SS 304 |
SS 316 |
|
6 |
Guide sleeve |
2Cr13 |
SS 304 |
SS 316 |
|
7 |
Bonnet |
ZG230-450 |
SS 304 |
SS 316 |
|
8 |
Spring |
50CrVA |
50CrVA |
50CrVA |
|
9 |
Stem |
2Cr13 |
2Cr13 |
SS 316 |
|
10 |
Lever |
ZG230-450 |
SS 304 |
SS 316 |
|
11 |
Adjusting Bolt |
AISI 1045 |
2Cr13 |
SS 316 |
|
12 |
Cap |
ZG230-450 |
SS 304 |
SS 316 |
|
13 |
Sealing surface |
Overlay stellite |
Overlay stellite |
Overlay stellite |