The pouring system in die casting determines the flow direction, speed, and filling time of the molten metal, and plays a significant role in regulating and controlling the pressure conduction and mold temperature. It is a key factor in determining the quality of
Aluminum Die-Casting. The overflow system includes overflow grooves and exhaust channels, which discharge gas, cold materials, and waste materials during the die casting process. In the design process of die-casting molds, the pouring system and overflow system are often considered as a whole. This study uses the die-casting mold of the engine front cover as an example to introduce the design process and methods for its pouring and overflow systems. It analyzes the shape, structural characteristics, and technical requirements of the automobile engine front cover, designs the pouring and overflow systems of the product, and uses calculation methods to determine the sizes of the inner gate, runner, and overflow groove. Based on the theoretical design, the die-casting process of the engine front cover is simulated using AnyCasting software. After the actual mold trial, the product quality is checked, and the size of the overflow groove is fine-tuned to provide a reference for the development of similar products.
(a) Inner cavity (b) Outer cavity
Figure 1: Front Covers
Figure 1 shows the front cover developed by a specific automobile company. It is made of ADC12 alloy and complies with the JIS H5302:2006 standard. It has good fluidity and mechanical properties. The maximum outer contour size of the casting is 603 mm × 320 mm × 49 mm, the general wall thickness is 2.0 mm, the projected area is 1180 cm², and the single piece weight is 1.72 kg. The cavity sealing requirement is 100 kPa, and the maximum allowable leakage is 10 mL/min. The front cover is a flat, thin-walled part with a large casting size and three large through holes in the middle, which are not conducive to metal liquid filling and prone to casting defects such as flow marks, cold shuts, and deformation. It is necessary to address the casting defects that may occur by reasonably designing the pouring system and overflow system, and by adjusting the die-casting process parameters.
Based on the structural characteristics of the front cover, the side runner is selected for filling. The side runner is arranged on the long side of the casting on the parting surface to ensure sufficient inner gate cross-sectional area and to shorten the filling process and filling time. Due to the multiple bolt mounting holes on the side of the front cover, the side runner is designed as a branch runner arranged between two adjacent bolt mounting holes to avoid impacting the core during filling. The pouring system structure is shown in Figure 2. It has the following advantages: the metal liquid filling process is short, allowing the cavity to be filled quickly and reducing heat loss; the branch cross runner has a specific length, ensuring the flow direction and sequential filling of the metal liquid; it avoids turbulence and sticking caused by the metal liquid impacting the core; it allows for convenient arrangement of overflow troughs and exhaust channels, facilitating exhaust; it is easy to remove, and convenient for subsequent automatic trimming to prevent casting deformation; and it helps balance mold temperature.
Figure 2: Casting Systems and Overflow Systems
- Sprue
- Horizontal Runners
- Ingates
- Overflow Troughs
- Exhaust Channels
- Castings
Figure 3: Relationships Between Filling Speed and Filling Length of Castings with Different Wall Thicknesses
Figure 4: The Thickness and Shape of Ingates
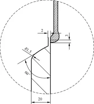
According to the clamping force calculated based on the projected area of the casting and the injection pressure ratio required for injection, it is determined that this front cover is produced using a 20,000 kN die-casting machine with a molten cup diameter of φ110 mm. The thickness of the sprue, that is, the thickness of the sprue after injection, is directly related to the effective transmission of the boost pressure. If the sprue is too thin, the pressure transmission is insufficient, and the internal quality of the casting will be reduced; if the sprue is too thick, it wastes materials and often causes bursting due to insufficient cooling, which seriously affects the production cycle. The thickness of the sprue is generally 25% of the molten cup diameter, and the thickness of the sprue of the front cover is 30 mm. The function of the runner is to smoothly introduce the molten metal from the sprue into the ingate. Its shape and size depend on the position, shape, and direction of the ingate. The front cover adopts a branch runner. To prevent the molten metal from dispersing at the corners, the cross-sectional area of the runner should be regularly reduced, and the fillet radius should be increased. The structural design of the runner is shown in Figure 2. The cross-sectional area of the runner is three to four times the cross-sectional area of the ingate. The cross-sectional shape is trapezoidal, and the fillet transition with the ingate is a 60° slope with an R15 mm radius.
The overflow system is a channel for exhausting air, accommodating residual coatings, and initially filling cold alloys during the process of molten metal filling the cavity, which has a significant impact on the quality of the casting. The overflow system mainly includes overflow grooves and exhaust grooves. In the design of overflow grooves and exhaust grooves, the position, structural form, and introduction direction of the runner should be fully considered. When designing the position of the overflow groove, the first thing to consider is placing the overflow groove at the end of the filling of the molten metal in the cavity and the position where multiple strands of molten metal converge. According to the structural characteristics of the front cover and the location of the branch runner, the overflow trough is designed at the last filling position opposite the front cover gate, and seven overflow troughs are designed in different areas. At the same time, considering that there are two large through holes inside the casting, the cavity structure here will hinder the flow of molten metal and change the flow direction of the molten metal, causing the local area of molten metal to converge, and in severe cases, incomplete filling will occur. Therefore, overflow troughs are designed at the two large holes in the center of the casting, which are conducive to the filling of molten metal and shrinkage compensation during cooling.

Figure 5: Simulation Analysis Results

Figure 6: Improvement Plan After Trial Mold
Table 1: Recommended Values of Overflow Trough Volume
| Cavity materials |
Pouring temperatures/°C |
Mold preheating temperatures/°C |
Slow injection speeds/(m.s-1) |
Fast injection speeds |
Fast injection positions/mm |
| W350 |
650 |
180 |
0.15 |
4.0 |
680 |
Table 2: Die Casting Process Parameters
| Average wall thickness of castings/mm |
Overflow tank volume ratio/% |
| Low surface roughness on castings |
Allowing a small amount of wrinkles on casting surfaces |
| 1.3 |
100 |
50 |
| 1.8 |
50 |
25 |
| 2.5 |
25 |
2 |
Conclusion
According to the structural characteristics of the front cover, a numerical simulation is applied to determine that the front cover adopts a lateral branch runner for filling. The side runner is arranged on the long side of the casting on the parting surface, and the overflow system is designed at the filling end of the molten metal and the location where multiple strands of molten metal converge. The entire filling process is stable, without turbulence and air entrapment. The design sequence of the pouring system is to design the gate first, then the sprue and runner, and finally the overflow system according to the runner and casting structure. After theoretical calculations, simulation analysis, and trial mold adjustments, the specific position, shape, and size of the pouring system and overflow system are finally determined. After mass production verification, the product quality is high, and the mold operation is stable and reliable.