4. Structure of Ball Valve for Hydrogen Peroxide Pipeline
Considering the chemical and physical properties of hydrogen peroxide, the selection of appropriate materials for the ball valve body and seals, along with their heat treatment and surface treatment, is essential. However, the most critical aspect of the ball valve design for hydrogen peroxide pipelines is its structural design. There are two main types of
ball valves used in hydrogen peroxide pipelines: the floating ball valve and the trunnion ball valve.
4.1 Floating Ball Valve
Floating ball valves are commonly used in hydrogen peroxide pipelines, especially in small-diameter pipelines, due to their simple structure, low flow coefficient, and fast actuation.
4.1.1 Stem Sealing Structure of Floating Ball Valve
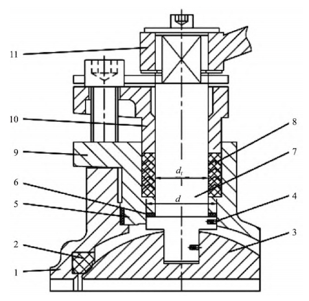
The stem sealing design of floating ball valves in hydrogen peroxide pipelines must consider the properties of hydrogen peroxide, ensure a leak-proof seal, and prevent stem blowout. Floating ball valves for hydrogen peroxide pipelines should feature low-leakage packing, blowout prevention, and anti-static mechanisms. A typical valve stem seal design is shown in Figure 1.

1. Valve bonnet 2. Valve seat 3. Ball 4. Anti-static device 5. Middle pad 6. Thrust pad 7. Valve stem 8. Packing 9. Packing and gland 10. Packing gland 11. Handle
Figure 1 Floating ball valve stem seal structure
The bottom of the floating ball valve stem includes a shoulder. The outer diameter (d) of the valve stem shoulder is larger than the main stem diameter. This convex shoulder prevents the valve stem from being blown out. When the packing gland, pressure plate, and packing are removed, pressure in the middle cavity will not blow out the valve stem from the inner cavity of the valve body, effectively providing anti-blowout protection.
4.1.2 Valve Seat Structure of Floating Ball Valve
To accommodate the properties of hydrogen peroxide, the design should ensure that when the floating ball valve is closed, hydrogen peroxide in the valve body’s middle cavity is not trapped and can discharge quickly into the upstream pipeline without leaking into the downstream side. In hydrogen peroxide pipelines, the floating ball valve should feature a valve seat design with a 3 mm pressure-relief opening on the inlet side ball and a one-way seal on the outlet valve seat, as shown in Figure 2.

Figure 2 Floating ball valve seat sealing structure
4.2 Trunnion Ball Valve
In hydrogen peroxide main pipelines, trunnion ball valves are the primary choice. They are widely used because they can withstand higher pipeline pressures, suit larger pipe diameters, provide safe and reliable sealing, and offer fast opening and closing.
4.2.1 Stem Sealing Structure of Trunnion Ball Valve
The stem sealing design of the trunnion ball valve in hydrogen peroxide pipelines primarily addresses the dynamic sealing requirements for the larger-diameter valve stem. Due to hydrogen peroxide’s strong oxidizing properties, it is essential to ensure the valve stem seal is leak-proof. In hydrogen peroxide pipelines, the valve stem seal of the trunnion ball valve uses a dual-sealing structure consisting of packing and an O-ring. Additionally, the valve stem design requires an anti-blowout structure to prevent the stem from ejecting under increased pressure within the valve body cavity, as well as an anti-static function. A typical valve stem seal design for the trunnion ball valve in hydrogen peroxide pipelines is shown in Figure 3. As illustrated, the lower end of the valve stem features a thrust platform with a diameter larger than that of the stuffing box through-hole, providing a reliable anti-blowout structure. This design prevents structural failure of the valve stem and closure components under pressure, which could otherwise cause the stem to eject from the valve. By incorporating both the stuffing box shoulder and valve stem thrust shoulder, this design ensures effective anti-blowout protection. The ball, valve stem, and valve body are connected through an anti-static device, creating a conductive path that promptly discharges static electricity generated by friction, ensuring a reliable anti-static structure.

1. Valve stem 2. Thrust pad 3. Bearing 4. Stuffing box 5. Bracket
6. Stuffing 7. O-ring 8. Spiral gasket 9. O-ring 10. Anti-static device
Figure 3 Stem sealing structure of trunnion ball valve
4.2.2 Seat Sealing Structure of Trunnion Ball Valve
The seat sealing design of the trunnion ball valve for hydrogen peroxide pipelines should ensure that, when closed, the valve allows hydrogen peroxide in the valve body’s middle cavity to discharge quickly into the upstream pipeline while reliably sealing the downstream side. Given the large volume of the trunnion ball valve’s middle cavity and hydrogen peroxide’s high viscosity, the design should allow rapid discharge of pressure and fluid to the upstream pipeline to facilitate safe decomposition in extreme conditions. To expedite pressure relief in the middle cavity, the trunnion ball valve includes a 3 mm pressure-relief opening on the inlet side of the ball (Figure 4). Figure 4 illustrates the trunnion ball valve’s seat sealing and flow direction, showing that the inlet valve seat is unsealed, while the outlet valve seat has a bidirectional seal. The outlet valve seat uses a DPE (Double Piston Effect) bidirectional sealing design, as shown in Figure 5.
In designing the trunnion ball valve’s stem and seat seals for hydrogen peroxide pipelines, it is crucial to consider hydrogen peroxide’s reactivity, as it decomposes in the presence of oil, alkaline impurities, and organic matter, releasing oxygen, water, and significant heat. Additionally, oxygen strongly supports combustion and can cause explosions if it contacts flammable or organic materials. Therefore, the valve stem and seat seals should not use the typical emergency grease injection design found in standard trunnion ball valves. Avoid any contact between grease, impurities, and hydrogen peroxide to ensure safety.
To verify the reliability of the improved structural design and ensure that the sealing, discharge, and other performance indicators of the ball valve meet required standards, testing was conducted on the actual production prototype. The prototype specifications are as follows: diameter NPS 8", pressure rating CL150, valve seat seal material PTFE, and body material ASTM A351 CF3 cast steel, with a trunnion-mounted ball valve design.
Ball valves used in hydrogen peroxide pipelines must be degreased and free from oil. Before degreasing, a hydraulic shell test is conducted according to Chapter 10.3 of API 6D-2021, Pipeline Ball Valve. Following degreasing, the valve must be assembled in a clean, dust- and oil-free environment. Once assembly in a dust-free environment is complete, the valve undergoes a high-pressure gas sealing test, a low-pressure gas sealing test, and a gas shell strength test to avoid recontamination. The ball valve is then evaluated to ensure it meets the shell strength and seat sealing requirements of API 6D-2021, Pipeline Ball Valve.
Figure 4 Sealing and flow direction of trunnion ball valve seat
1. Valve body 2. Valve seat 3. O ring 4. Preload spring 5. Sealing ring 6. Ball
Figure 5 Two-way sealing valve seat structure at the outlet of trunnion ball valve
Since the hydrogen peroxide pipeline ball valve has an unsealed inlet valve seat and a two-way sealed outlet valve seat, the outlet seat seal should be tested for leaks from both the valve cavity and outlet end to assess the two-way sealing performance. The actual production prototype, an 8"Q347F-CL150, uses nitrogen to test the ball valve’s sealing performance and shell strength. According to relevant testing standards, the shell gas strength is tested at 2.2MPa, the high-pressure gas seal of the valve seat at 2.2MPa, and the low-pressure seal of the valve seat at 0.6MPa. No bubbles are observed during the specified test time, indicating no visible leakage. The inspection test results meet the standards API 598-2020, Inspection and Testing of Valves, and ISO 5208-2015, Industrial Valves, Pressure Testing of Metal Valves. The leakage rate for soft-seated valves must meet the Class A standard (no visible leakage).
6. Conclusion
In summary, hydrogen peroxide is widely used, with its applications increasing significantly in various industries and everyday life. As a result, the application of valves in hydrogen peroxide production, transportation, and storage has become an emerging area of research. As discussed in this article, ball valves used in hydrogen peroxide pipelines should incorporate new materials suited to the specific conditions of hydrogen peroxide and continually optimize their structural design to ensure reliable operation within the pipeline and production system.