Abstract
The causes of leakages at the sealing gasket of the traditional cryogenic valve test mold and the loosening of the flange bolts of the end blind plate are analyzed, and the cryogenic valve test mold with a structure of the butt welding end adopting a combination of the clamp through flange and blind flange is introduced. The structure and clamping method of traditional test molds for cryogenic valves are improved and the problem of deformation of the valve body affecting the sealing performance of the valve during the test is solved.
1.
Overview
Cryogenic valves include ball valves,
butterfly valves, globe valves, check valves, etc., which play important roles in cutting and adjusting fluid and stopping reverse flows in the device. Cryogenic valves are suitable for media such as ethylene, liquid oxygen, liquid hydrogen, liquefied natural gas, liquefied petroleum products, etc. Its normal working temperature is about -163℃. Therefore, in addition to the design principles of general valves, the design of cryogenic valves also needs to meet the requirements for safety, reliable sealing and flexible opening and closing under cryogenic conditions as well as flammable and explosive media. Cryogenic valves are subjected to various performance tests at room temperatures in accordance with general valve standards. If they are qualified after being tested, performance tests under low temperature conditions should be carried out. Generally, the performance test of cryogenic valves needs to be carried out at -196°C (valves being immersed in liquid nitrogen), and the connection methods are mostly butt welded ends, which makes it difficult to test pipeline connections under low temperature conditions. This article introduces a test mold for butt welded cryogenic valves, which ensures reliability of the connection between the valve and test pipeline, and has features of being simple, efficient and practical.
2.1
Principles of low temperature tests
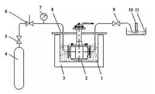
The main performance index of the
cryogenic valve is the leakage rate under low temperature conditions, and the main factor affecting its leakage rate is deformation of the valve under low temperature conditions. The key points that affect the amount of deformation include the selection of ultra low temperature materials, the structure design of cryogenic valves, the manufacturing process of cryogenic valves and the test methods of cryogenic valves. The cryogenic test system includes the helium gas source, test pipeline, liquid nitrogen tank, leak detection device and other components (Figure 1). Inject liquid nitrogen into the insulation box to cool the valve that is tested. The liquid level should submerge the upper part of the connection between the valve body and bonnet to ensure that the position of the valve packing is not affected by the evaporation of liquid nitrogen. Be careful when filling liquid nitrogen.
Figure 1 Test principles of cryogenic valves

1. Liquid nitrogen tanks 2. Valves being tested 3. Incubators 4. Helium gas sources 5. Gas cylinder valves 6. Pressure regulating valves 7. Pressure gauges 8. Incubator covers 9. Needle valves 10. Measuring cylinders 11. Alcohol tanks
The tested valve is connected to the test pipeline through the set tooling mold. The tested valve and tooling mold need to be immersed in liquid nitrogen. Both the tested valve and tooling mold will be affected by the physical factors of expansion caused by heat and contraction caused by cold under low temperature conditions. Therefore, installation and use of tooling molds in the test process should not affect deformation of the tested valve and test results of the valve.
2.2
Structure of the traditional test mould
Cryogenic valves generally have butt welded ends. In order to connect the valve to the test pipeline, the two ends of the blind plate flanges are generally fastened by long bolts according to the traditional test method. The sealing gasket is generally made from PTFE. The structure of this kind of mould is shown in the Figure 2 to Figure 4.
Figure 2 Structure of the traditional test mould

1. Washers 2. Hexagon nuts 3. Blind flanges 4. Long bolts 5. Valves being tested

Figure 3 The traditional test mould with a globe valve

Figure 4 The traditional test mould with a ball valve
2.3
The verification test of the traditional test mould
In order to verify the test performance of the traditional test mold, a helium leak test under low temperature conditions was carried out by using test principles of the cryogenic valve, which was completed in collaboration with the cryogenic performance test of the cryogenic valve (Figure 5).

Figure 5 The valve and mould are immersed in liquid nitrogen.