150LB-800LB Cryogenic Gate Valve, Full & Standard Port

150LB-800LB Cryogenic Gate Valve, Full & Standard Port

Key Specifications / Features

150LB-800LB Cryogenic Gate Valve Manufacturer: 150LB-800LB Cryogenic Gate Valve, 1/2-2 Inch, DN15-DN50, API 602, ASME B16.34, BS 5352, BS 6364.
Request a quote

Detail Information

150LB-800LB Cryogenic Gate Valve, Full & Standard Port

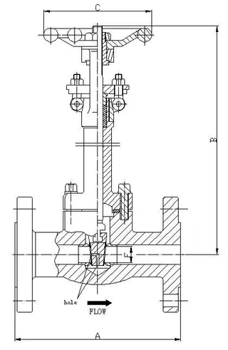
Design construction:
API 602, ASME B16.34, BS 5352, BS 6364
Testing according to API 598
Face to face according to ASME B16.10
Flanges according to ASME B16.5
Spiral wound gasket
Integral backseat
Marking MSS SP25
Outside Screw and Yoke (OS&Y)
Self aligning two piece packing gland
Welded body- bonnet joint also available

Ratings: stainless steel A182- F316
- class 150 = 275 psig @ 100°F 19 bar + 38°C
- class 300 = 720 psig @ 100°F 49 bar + 38°C
 
150-800 LB  NPS (in) 1/2 3/4 1 11/4 11/2 2
DN mm 15 20 25 32 40 50
D 13 18 24 29 36.5 46.5
 
 
 
L
 
 
 
 
SW:NPT OR RC 92 111 120 120 140 178
CL150;CL300 140 152 165 178 190 216
CL600 165 190 216 229 241 292
PN1.6-4.0 130 150 160 180 200 250
PN6.4-10.0 170 190 210 230 250 250
H 333 360 407 475 475 551
W 125 125 160 160 180 200
 
KG
 
  7.1 9.4 13.5 15.0 17.8 28.0
CL300/CL600 7.0/8.0 9.4/11.1 12.5/13.4 19.8/21.5 20.1/22.6 24.0/27.0

Send your message to this supplier

FAQs

Similar Products

Related Searches

Products you might also like