The Cryogenic Safety Valve Factory in China offers high-quality cryogenic safety valves designed for extreme low-temperature applications. These valves feature a cast stainless steel ASTM A351 CF8 body, providing excellent durability and corrosion resistance. The PTFE (Polytetrafluoroethylene) seat ensures a tight seal and reliable performance even in cryogenic conditions. With a nominal diameter of DN20 (3/4 inch) and a pressure rating of PN16 (150 LB), these valves are suitable for handling cryogenic fluids such as liquefied gases. The threaded ends facilitate easy installation and integration into piping systems.
Product Name: Cryogenic Safety Valve
Body Material: ASTM A351 CF8
Seat Material: PTFE
Size: DN20, 3/4 Inch
Pressure: PN16, Class 150 LB
End Connection: DA21F Thread
Medium: LNG, Industrial Gases
Temperature Range: -196°C to 80°C
The DA21F Safety Valve is designed as an overpressure protection device for cryogenic systems, operating within a temperature range of -196°C to +80°C. It is suitable for use in liquefied natural gas (LNG) applications, as well as in systems handling industrial gases such as oxygen, nitrogen, argon, and carbon dioxide, along with other related industries.
Technical Specifications
» Product Model: DA21F
» Size Range: 3/8-1 Inch (DN10-DN25)
» Pressure Rating: PN10-PN40, Class 125-300 LB
» Materials: ASTM A351 CF8, CF8M, CF3, CF3M
» End Connections: BSP Thread, NPT Thread
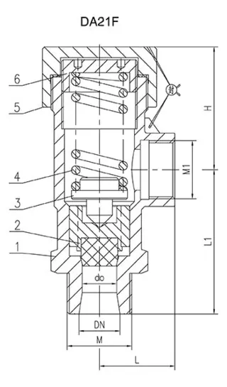
Structural Diagram

Main Parts and Materials
|
No |
Name of Parts |
Stainless steel |
Stainless steel |
|
1 |
Body |
A351 CF8 |
A351 CF8M |
|
2 |
Disc |
SS 304+PCTFE |
SS 316+PCTFE |
|
3 |
Spring washer |
SS 304 |
SS 316 |
|
4 |
Spring |
12Cr18Ni9 |
12Cr18Ni9 |
|
5 |
Cap |
SS 304 |
SS 316 |
|
6 |
Locking nut |
SS 304 |
SS 316 |