The China BS 1868 Swing Check Valves Factory produces high-quality swing check valves designed to meet the rigorous standards of BS 1868. These valves feature an ASTM A216 WCB cast carbon steel body, ensuring durability and resistance to corrosion and wear. With an 8-inch (DN200) size and rated for Pressure Class 150 LB or PN20, they are well-suited for a variety of industrial applications. The RF flanged ends and bolted bonnet design facilitate easy installation and maintenance.
Product Name: BS 1868 Swing Check Valves
Type: Swing Check Valve
Design Standard: BS 1868
Body Material: ASTM A216 WCB, Carbon Steel
Size: 8 Inch, DN200
Pressure: Class 150 LB, PN20
End Connection: RF Flanged
Medium: Water, Oil, Gas, etc
Temperature Range: -29°C to 595°C
Universal Cast Steel Check Valves are meticulously designed and manufactured in strict compliance with international standards such as API 6D, BS 1868, ASME B16.34, or their equivalents. These valves are engineered to minimize flow resistance and pressure drop, ensuring optimal performance. They are specifically designed for horizontal installation, with a lapped and screwed seat ring that guarantees a tight seal and long-lasting service.
The valve's disc is precisely designed and machined to ensure efficient automatic shut-off at zero pressure. It features a compact structure and low-emission service, making it suitable for a wide range of applications. In its standard configuration, the swing check valve includes a bolted cover and a free-swinging clapper, which acts as the closing member and responds to the prevailing flow conditions.
While swing check valves are best suited for horizontal pipeline installations, heavier disc weights can sometimes lead to chattering issues. To mitigate this, dampers or counterweights may be necessary to ensure smooth operation and prevent unwanted vibrations.
Technical Specification
» Type: Swing Check Valve
» Nominal Diameter: NPS 2-24 Inch (DN50-DN600)
» Design Pressure: Class 150-2500 LB (PN10-PN420)
» Material: ASTM A216 WCB, WCC, 217 WC6, WC9, C5, C12A, A352 LCB, LCC, A351 CF8, CF8M, CF3M, CF8C
» End Connections: Flanged (FF, RF, RTJ) to international standards
» Design and Manufacture: BS 1868, API 6D, DIN 3352
» Face to Face (End to End): ANSI B16.10, EN 558 series
» Flanged Connection: ASME B16.5, ASME B16.47, EN 1092 series
» Butt Welded End: ANSI B16.25
» Test and Inspection: API 598, ISO 5208, EN 12266-1
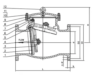
Structural Diagram

Product Features
» Prevent Backflow: Cast steel swing check valves are designed to prevent backflow in the pipeline. The flow travels in a straight line through the valve, resulting in minimal pressure drop. The disc swings into the open position as the media flows through the line, while back pressure in the line holds the disc in the closed position.
» Flexible Installation: Cast steel swing check valves can be installed in either horizontal or vertical lines. However, they must be installed in the proper orientation relative to the media flow, as indicated by the flow direction arrow marked on the valve body.
» Customizable Accessories: A variety of accessories are available to meet specific customer requirements. These include bypasses, locking devices, counterweights, and more.