The 20-inch Swing Check Valve from the factory is meticulously designed to meet BS 1868 standards. It features a robust carbon steel body made from ASTM A216 WCB material, ensuring durability and reliability. With a nominal diameter of DN500 and a pressure rating of PN20 (Class 150 LB), this valve is built for high-performance applications. The bolted bonnet design provides easy maintenance, while the raised face (RF) flanged ends ensure secure and leak-free connections.
Product Name: 20 Inch Swing Check Valve
Type: Swing Check Valve
Design Standard: BS 1868
Body Material: Carbon Steel ASTM A216 WCB
Size: 20 Inch, DN500
Pressure Rating: Class 150 LB, PN20
End Connection: RF Flanged
Medium: Water, Oil, Gas, etc
Temperature Range: -29°C to 595°C
Universal Cast Steel Check Valves are meticulously designed and manufactured in strict accordance with international standards such as API 6D, BS 1868, ASME B16.34, or equivalent. These valves are engineered to minimize flow resistance and pressure drop, making them suitable for horizontal installation only. The lapped and screwed-in seat ring ensures a tight seal and long-lasting service. The valve's disc is perfectly designed, accurately machined, and guided for efficient automatic shut-off at zero pressure. The valves feature a compact structure and low-emission service. In their standard configuration, swing check valves have a bolted cover and a free-swinging clapper, which acts as the closing member and responds to the prevailing flow conditions. Swing check valves are ideally suited for horizontal pipeline installation. However, for heavier disc weights, chattering issues may occur, necessitating the use of dampers or counterweights.
Technical Specification
» Type: Swing Check Valve
» Nominal Diameter: NPS 2-24 Inch (DN50-DN600)
» Design Pressure: Class 150-2500 LB (PN10-PN420)
» Material: ASTM A216 WCB, WCC, 217 WC6, WC9, C5, C12A, A352 LCB, LCC, A351 CF8, CF8M, CF3M, CF8C
» End Connections: Flanged (FF, RF, RTJ) to international standards
» Design and Manufacture: BS 1868, API 6D, DIN 3352
» Face to Face (End to End): ANSI B16.10, EN 558 series
» Flanged Connection: ASME B16.5, ASME B16.47, EN 1092 series
» Butt Welded End: ANSI B16.25
» Test and Inspection: API 598, ISO 5208, EN 12266-1
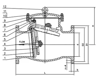
Structural Diagram

Product Features
» Preventing Backflow: Cast steel swing check valves are designed to prevent backflow in the pipeline. The flow travels in a straight line through the valve, resulting in minimal pressure drop. The disc swings into the open position as the media flows through the line, and back pressure in the line holds the disc in the closed position.
» Flexible Installation: Cast steel swing check valves can be installed in both horizontal and vertical lines. However, they must be installed in the proper orientation relative to the media flow, as indicated by the flow direction arrow marked on the valve body.
» Customizable Accessories: A variety of accessories, such as bypasses, locking devices, counterweights, and more, are available to meet specific customer requirements.